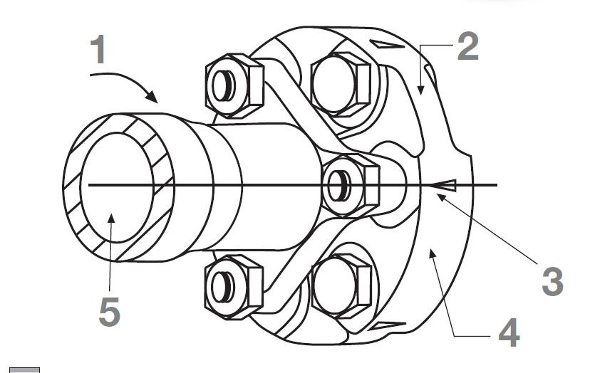
Piotrek20Tg Opublikowano 8 Kwietnia 2017 Zgłoś Udostępnij Opublikowano 8 Kwietnia 2017 Witam jak ma być prawidłowo zamontowany przegub elastyczny? Czy tak jak na zdjęciu jest dobrze ? Kupiłem e46 325i łącznik ktoś wymieniał a śruby były wszystkie w jedna stronę. Bo jedni twierdza ze nakrętki mają być na metalowych częściach a jedni ze na gumie proszę o potwierdzanie dziękuje Cytuj Odnośnik do komentarza Udostępnij na innych stronach Więcej opcji udostępniania...
Piotrek20Tg Opublikowano 9 Kwietnia 2017 Autor Zgłoś Udostępnij Opublikowano 9 Kwietnia 2017 Znalazłem jeszcze na Google co by potwierdzało ze jest ok na pierwszym zdjeciu ale dlaczego w sam naprawiam jest odwrotnie nakrętki nie na wale tylko od strony skrzyni? Cytuj Odnośnik do komentarza Udostępnij na innych stronach Więcej opcji udostępniania...
Kandyn Opublikowano 17 Kwietnia 2017 Zgłoś Udostępnij Opublikowano 17 Kwietnia 2017 A dzieje Ci sie cos złego, ze masz takie rozkminy?Wysłane z mojego LG-D410 przy użyciu Tapatalka Cytuj Odnośnik do komentarza Udostępnij na innych stronach Więcej opcji udostępniania...
Rekomendowane odpowiedzi
Dołącz do dyskusji
Możesz dodać zawartość już teraz a zarejestrować się później. Jeśli posiadasz już konto, zaloguj się aby dodać zawartość za jego pomocą.